Seite 1 von 1
Lampenmaske K5 an K3
Verfasst: 08.04.2014 16:58
von sanderstruck
Servus miteinander,
ich bräuchte hier mal etwas Hilfe!
Ich habe mir die original Lampenmaske wie sie ab der K5 verbaut war besorgt und wollte diese nun an meine K3 anbauen.
Jedoch musste ich feststellen, dass die Halter nicht kompatibel mit der des Scheinwerfers ist !
So wie ich gelesen habe, gibt es doch je nach Modell unterschiedliche Halter
Hat hiervon eventuell jemand noch ein paar übrig bzw. eine Skizze zwecks Nachbau ?
Wer kann mir Helfen ?
Mfg Florian
Re: Lampenmaske K5 an K3
Verfasst: 08.04.2014 17:31
von Roughneck-Alpha
Dann machst Du was falsch.
Denn das passt ohne Probleme, siehe OWL meiner 650er.
Re: Lampenmaske K5 an K3
Verfasst: 08.04.2014 17:34
von sanderstruck
Ich glaube nicht, ich hab ja andere Halter dran wie du !!!
Re: Lampenmaske K5 an K3
Verfasst: 08.04.2014 17:45
von Roughneck-Alpha
Re: Lampenmaske K5 an K3
Verfasst: 08.04.2014 17:50
von hannes-neo
Fotos helfen in solchen Fällen Missverständnisse zu vermeiden

Re: Lampenmaske K5 an K3
Verfasst: 08.04.2014 18:31
von Roughneck-Alpha
Ich muss meine erste Aussage nochmal ein wenig korrigieren.
Bei den 650ern passen die unabhaengig vom Baujahr.
Ob die 650er allerdings auf die Kilo passt, weiss ich nicht 100%.
Re: Lampenmaske K5 an K3
Verfasst: 08.04.2014 20:23
von sanderstruck
Hier nun ein Bild, ich denk schon, dass das die Originalen sind !
Re: Lampenmaske K5 an K3
Verfasst: 09.04.2014 5:42
von Roughneck-Alpha
Was soll mir das Bild jetzt sagen?
Die Lampenhalter haben nichts mit den Haltern der Lampenmaske zu tun.
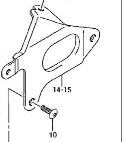
Die Halter der Maske sehen so aus:

- Maskenhalter.jpg (26.19 KiB) 2580 mal betrachtet
QUELLE
und werden hinter die Lampenhalter geschraubt.
Womit meine vorherige Aussage:
wieder in Kraft tritt
sanderstruck hat geschrieben:So wie ich gelesen habe, gibt es doch je nach Modell unterschiedliche Halter
Hierzu haette ich gerne mal eine Quelle.
Re: Lampenmaske K5 an K3
Verfasst: 09.04.2014 7:30
von sanderstruck
So weit schon klar !
Wenn ich die Maskenhalter jedoch so ausrichte das es passt ( müsste ja noch ein Bohrung anbringen ) dann komm ich mit den Blinkern in die Quere !
Re: Lampenmaske K5 an K3
Verfasst: 09.04.2014 8:01
von Roughneck-Alpha
Nein musst Du nicht !
Du musst die Halter der Lampenmaske hinter die Halter der Lampe anbringen !
Das Langloch welches sich im Halter der Lampenmaske befindet, dient ja extra
zur Durch-/Fuehrung der Blinker !
Heisst mit anderen Worten:
Schrauben raus !
Blinker ab !
Lampenhalter dahinter setzen !
Blinker bzw. Kabel durchfaedeln !
Schrauben wieder rein !
Lampenmaske am sich hinter den Lampenhaltern befindlichen Lampenmaskenhaltern befestigen !
Roughneck-Alpha hat geschrieben:sanderstruck hat geschrieben:So wie ich gelesen habe, gibt es doch je nach Modell unterschiedliche Halter
Hierzu haette ich gerne mal eine Quelle.
Wie verhaelt es sich damit

Re: Lampenmaske K5 an K3
Verfasst: 09.04.2014 10:16
von sanderstruck
Geb dir ja Recht, bei deinen Lampenhaltern passt das aber schau mal in welcher Position meine Blinker auf der Lampenhalterung sitzen
Wenn ich die Aussparung deckungsgleich übereinanderlege hängt meine Schraube in der Luft
,,, wo ein Wille ist, da ist auch ein Weg
