Lenker Knubbel Maße


Du benötigst Infos zur Technik oder hast ein Problem mit deiner SV? Fragen und Antworten hier!
Antworten
Benutzeravatar
Dieter
Techpro
Beiträge: 15614
Registriert: 11.01.2003 17:25
Wohnort: Am Ortsrand

SVrider:

Lenker Knubbel Maße

#1

Beitrag von Dieter » 15.12.2015 0:00

Hallo.

Hat wer nen ausgebauten knubbel "N" Lenker liegen und kann mir den vermessen?
lenkermasse.jpeg
lenkermasse.jpeg (29.67 KiB) 1299 mal betrachtet

Gelöschter Benutzer 23467


Re: Lenker Knubbel Maße

#2

Beitrag von Gelöschter Benutzer 23467 » 15.12.2015 13:33

ja, hab einen zu Hauser liegen, nach meinem Umbau.
Messung aber erst heute Abend, wenn ich Feierabend habe :wink:

Benutzeravatar
Dieter
Techpro
Beiträge: 15614
Registriert: 11.01.2003 17:25
Wohnort: Am Ortsrand

SVrider:

Re: Lenker Knubbel Maße

#3

Beitrag von Dieter » 15.12.2015 14:50

Das ist spitze. Danke!

Keine Eile!

Gelöschter Benutzer 23467


Re: Lenker Knubbel Maße

#4

Beitrag von Gelöschter Benutzer 23467 » 15.12.2015 17:57

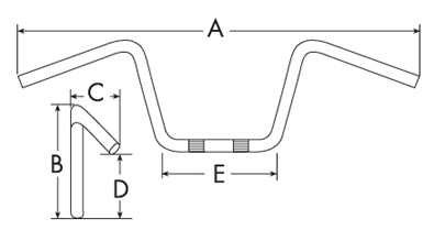
hier mal die maße:
A:670mm
B:60mm
C:140mm
D:50-110mm je nachdem wie steil du ihn stellst
E:160mm

Benutzeravatar
Kolbenrückholfeder
SV-Rider
Beiträge: 6731
Registriert: 22.08.2013 10:11
Wohnort: Elefantenstadt am Rande vom Pott

SVrider:

Re: Lenker Knubbel Maße

#5

Beitrag von Kolbenrückholfeder » 15.12.2015 18:06

Der Lenker der N Kante hat ähnliche, wenn nicht identische Maße. Mir deucht, die beiden gebogenen verchromten Rohre sind identisch. :idee:
Linke Hand zum Gruß.
Koichi Shimada † 11.02.2016

Benutzeravatar
janaldo
SV-Rider
Beiträge: 726
Registriert: 10.07.2013 20:20

SVrider:

Re: Lenker Knubbel Maße

#6

Beitrag von janaldo » 15.12.2015 18:11

Kolbenrückholfeder hat geschrieben:Der Lenker der N Kante hat ähnliche, wenn nicht identische Maße. Mir deucht, die beiden gebogenen verchromten Rohre sind identisch. :idee:
Nicht ganz, aber liegen sehr nah beieinander.

Antworten